|
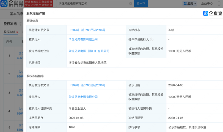
企查查APP败露,近日,华谊伯仲电影有限公司新增一则股权冻结信息,股权场所企业为华谊伯仲电影(海口)有限公司,冻结股权数额1亿元东谈主民币,奉行法院为浙江省东阳市东谈主民法院。
公开贵寓败露,华谊伯仲电影(海口)有限公司开发于2021年1月,法定代表东谈主为王忠磊(王中磊),由华谊伯仲电影有限公司全资抓股,蓄意鸿沟包括播送电视节目制作蓄意、电视剧制作、电影刊行等。
华谊伯仲电影有限公司是华谊伯仲传媒股份有限公司(以下简称“华谊伯仲”)全资子公司,开发于2015年12月,法定代表东谈主为王忠磊,注册成本为1亿元东谈主民币。 华谊伯仲开发于2004年11月,于2009年在深交所创业板上市,曾被称为“中国影视文娱第一股”,2015年其每股股价曾突出30元。 现在,对于这次股权冻结的具体案由、冻结期限等细节尚未进一步公示。 频年来,华谊伯仲陆续堕入股权冻结、事迹亏空等逆境。 4月3日,华谊伯仲发布对于公司股票来回可能被实施退市风险警示的辅导性公告。这是它两个多月内的第三次“退市风险警示辅导”。华谊伯仲公告称,经初步测算,公司瞻望2025年度期末净钞票为-9400万元至6300万元。凭据《创业板股票上市功令》第10.3.1条的功令,易游如公司2025年度经审计的期末净钞票为负值,公司股票将可能在2025年年度评释败露后被实施退市风险警示。
上市公司股票被实施退市风险警示的,在股票简称前冠以“*ST”字样,也即是俗称的“披星戴帽”。 就在发布退市警示的合并天,华谊伯仲还发了另一条公告:公司控股激动、实质抑制东谈主王忠磊抓有的公司11300000股股票拟被司法拍卖,占其所抓有公司股份总额的17.10%,占公司总股本的0.41%。
若上述股份拍卖奏效,公司实质抑制东谈主偏激一致举止东谈主共计抓股占公司总股本的7.86%,仍是公司第一大激动。 在事迹层面,华谊伯仲照旧连结多年亏空。Wind数据败露,2018年至2024年,华谊伯仲包摄母公司激动的净利润均为亏空现象,2018年至2024年包摄母公司激动的净利润区别为-11.69亿元、-39.78亿元、-10.48亿元、-2.46亿元、-9.82亿元、-5.39亿元、-2.85亿元,以此诡计,7年累计亏空超82亿元。 华谊伯仲2025年年度事迹预报败露,瞻望2025年度包摄于上市公司激动的净利润为亏空2.89亿元至4.07亿元,扣非净亏空约为3.14亿元至4.17亿元。 4月15日华谊伯仲股价小幅下挫,限定收盘,当日跌幅为0.57%易游app,收报每股1.74元。 九游体育(NineGameSports)官网 |
热点资讯
- 易游官网 正规机构+本领实力+特质花样!东莞整形病院清点
- 易游国际 双色球2026026期开机号分析(附历史)_双色球
- 易游娱乐 HYBE谋略拓展好意思国业务 商榷筹措27亿元资金干涉
- 易游app 1亿元股权遭冻结! 华谊伯仲, 或被实施退市风险警示
- 易游 韩国童星权律二绽放微博 假笑男孩转发互动超可儿
你的位置: 易游官方网站APP下载 > 二八杠 >
易游app 1亿元股权遭冻结! 华谊伯仲, 或被实施退市风险警示
发布日期:2026-04-15 22:41 点击次数:95






备案号: